
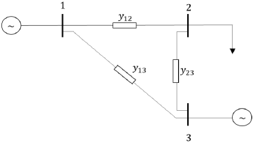
A rede elétrica pode ser representada por meio de modelo com parâmetros de admitância, que é chamado de matriz de admitância de barra (Ybarra).
Sendo assim, a matriz Ybarra, que representa o sistema elétrico acima, é dada por

A rede elétrica pode ser representada por meio de modelo com parâmetros de admitância, que é chamado de matriz de admitância de barra (Ybarra).
Sendo assim, a matriz Ybarra, que representa o sistema elétrico acima, é dada por