Magna Concursos
3236780 Ano: 2015
Disciplina: Engenharia Civil
Banca: UFGD
Orgão: UFGD

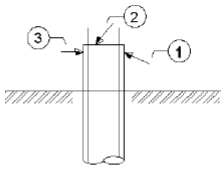
Observe a figura abaixo e identifique qual(is) a(s) melhor(es) posição(ões) para o arrasamento de uma estaca de concreto:

Enunciado 3577742-1

 

Provas

Questão presente nas seguintes provas

Técnico de Laboratório - Materiais

50 Questões