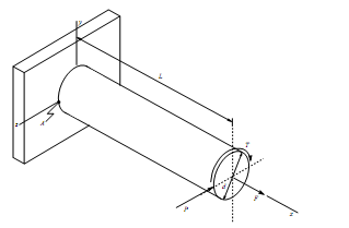
A figura a seguir mostra uma barra de seção circular sujeita a uma torção T e aos carregamentos P e F, conforme indicado. A força P é paralela ao eixo z e a força F está ao longo do eixo x. Sabendo que o segundo momento de área da seção circular é
em que d é o diâmetro da seção, julgue os itens a seguir, marque com F a(s) afirmativa(s) falsa(s) e com V a(s) verdadeira(s) e assinale a opção correta.

( ) O princípio da superposição de carregamentos empregado na análise do estado de tensões de um dado ponto da barra está baseado na hipótese de que o material se comporta dentro da região linear elástica.
( ) Considerando que L = 8d e F = 16P, a tensão normal no ponto A é trativa e possui valor absoluto igual a 
( ) As tensões cisalhantes no ponto A são devidas aos esforços torsores induzidos por T e aos esforços cortantes induzidos pelo carregamento P.
( ) Se a barra estivesse sujeita apenas ao carregamento F, os critérios da máxima tensão normal e da máxima tensão cisalhante forneceriam os mesmos fatores de segurança para falha estática.