Magna Concursos
2549392 Ano: 2022
Disciplina: Engenharia Civil
Banca: FURB
Orgão: Pref. Camboriú-SC
Provas:

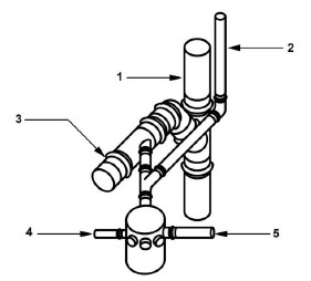
Em um desenho de detalhamento das tubulações de esgoto de um prédio, estava a seguinte imagem:

Enunciado 3039736-1

Assinale a alternativa que se refere à nomenclatura CORRETA dos pontos numerados, considerando que se trata do esgoto do banheiro do primeiro pavimento:

 

Provas

Questão presente nas seguintes provas

Encanador

40 Questões