Magna Concursos
Questões
Planos
Entrar
Entrar
Criar Conta
Respondida
3467750
Ano:
2024
Disciplina:
Arquitetura
Banca:
UEPB
Orgão:
Pref. São José Piranhas-PB
Provas:
Arquiteto
Provas
×
Legislação e Normas
Normas sobre Processos de Projetos na Arquitetura
Processos de Projeto
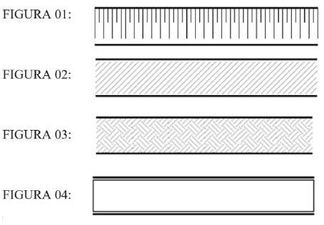
Com base na NBR 6492/2021, indique a que se referem as representações e hachuras abaixo nas imagens 01, 02, 03 e 04, respectivamente:
A
Talude em vista, Reforma-Alvenaria a construir, Terra, Reforma-Alvenaria a demolir.
B
Aterro, Aço em corte, Mármore/Granito em corte, Reforma-Alvenaria existente.
C
Talude em vista, Reforma-Alvenaria a construir, Concreto em vista, Reforma-Alvenaria a demolir.
D
Concreto em corte, terra, Compensado de madeira, Reforma-Alvenaria existente.
E
Aterro, Reforma-Alvenaria a construir, Compensado de madeira, Reforma-Alvenaria a demolir.
Resolver
Comentários
0
×
Cadernos
×
Flashcards
×
Estatísticas
×
Reportar um erro
×
Provas
Questão presente nas seguintes provas
Arquiteto
40 Questões
Resolver Prova
Publicar
Responder
Qual o problema da questão?
Selecione uma opção
Questão Desatualizada
Questão Repetida
Gabarito Errado
Outros Motivos
Mensagem
Enviar
Acessar
Criar Conta
Acesse sua Conta
Google
Facebook
Esqueci minha senha
Acessar
Ainda não tem conta?
Crie uma
!
Crie uma Conta
Criar Conta
Olá, para continuar, precisamos criar uma conta!
É
rápido
e
grátis
.
Google
Facebook
Concordo com os
Termos de Uso
Criar
Já tem uma conta?
Acesse aqui