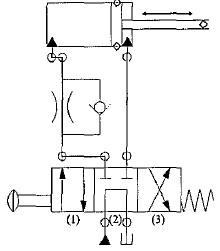
Observe figura abaixo:

O circuito apresentado acima é tipo Meter Out, ou seja, uma válvula é instalada de forma a restringir a saída de fluido do atuador, consequentemente, controlando sua velocidade. Esse tipo de circuito é utilizado quando a carga_ tende a fugir do atuador ou quando há carga negativa. No caso apresentado, o controle de velocidade é realizado pela válvula controladora de vazão quando a haste está fazendo o movimento de:
Provas
Questão presente nas seguintes provas
Quadro Técnico de Praças da Armada - Mecânica
50 Questões