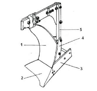
Observe a figura abaixo, que descreve a constituição de uma aiveca.

Nesta figura os números 1, 2, 3, 4 e 5, representam, respectivamente:
Observe a figura abaixo, que descreve a constituição de uma aiveca.

Nesta figura os números 1, 2, 3, 4 e 5, representam, respectivamente: