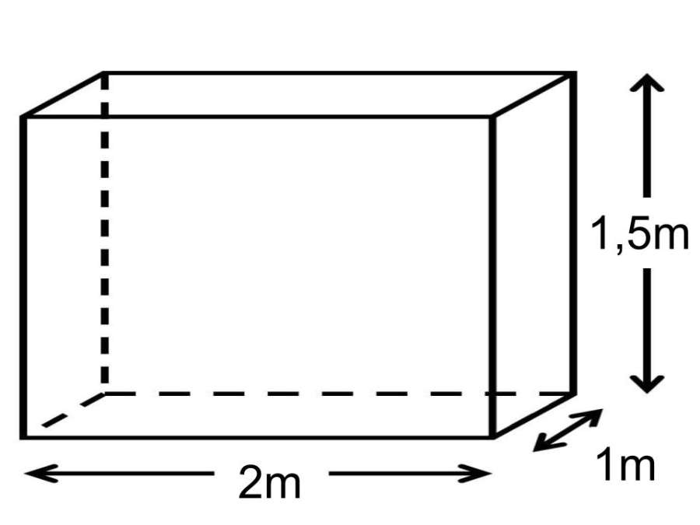
O metro é uma unidade que geralmente é usada para medir comprimento, mas ele também é encontrado na medição de volume. Assim, supondo que a figura abaixo representa uma caixa que está cheia de areia, qual é o volume (V) de areia que tem nessa caixa?

Provas
Questão presente nas seguintes provas
Auxiliar de Serviços Gerais
20 Questões
Motorista
20 Questões