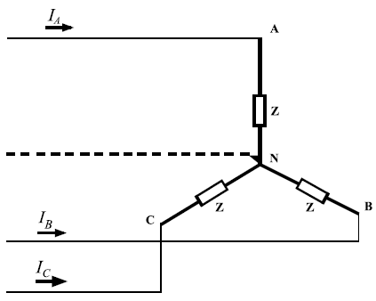
Na figura abaixo temos a representação de uma carga equilibrada ligada em estrela ou Y sendo alimentada por uma fonte trifásica.

Sobre as correntes IA, IB, IC e tensões VAN, VBN e VCN, podemos afirmar:
Na figura abaixo temos a representação de uma carga equilibrada ligada em estrela ou Y sendo alimentada por uma fonte trifásica.

Sobre as correntes IA, IB, IC e tensões VAN, VBN e VCN, podemos afirmar: