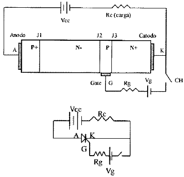
O tiristor é formado por quatro camadas semicondutoras, alternadamente p-n-p-n, possuindo 3 terminais: anodo e catodo, pelos quais flui a corrente, e a porta (ou gale) que, a uma injeção de corrente, faz com que se estabeleça a corrente anódica. A figura a seguir ilustra uma estrutura simplificada do dispositivo.

Se entre anodo e catodo tiver uma tensão positiva,é CORRETO afirmar que: