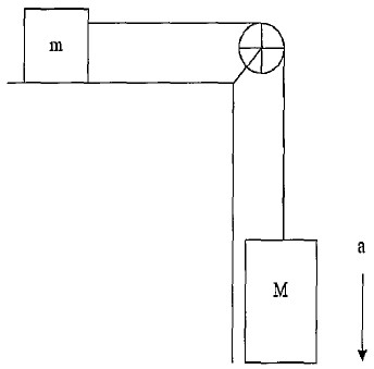
Um bloco com massa M desliza sem atrito, com uma aceleração "a". Tal bloco encontra-se conectado a outro bloco com massa m, conforme figura abaixo. Sabendo que não existe atrito no sistema e que a polia e cabo apresentam massa desprezível, assinale a opção que apresenta o valor da aceleração a.
Dado: aceleração da gravidade= g.

Provas
Questão presente nas seguintes provas
Quadro Técnico de Praças da Armada - Mecânica
50 Questões