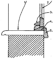
Analise o desenho abaixo.

Observe os elementos identificados pelos números, assinalando a resposta correta
Provas
Questão presente nas seguintes provas
Analise o desenho abaixo.

Observe os elementos identificados pelos números, assinalando a resposta correta