A figura a seguir ilustra uma bomba centrífuga utilizada em uma embarcação.

(Fonte: Marinha do Brasil, Diretoria de Portos e Costas, “Máquinas e Equipamentos Auxiliares”)
O bocal de descarga dessa bomba está indicado pela letra
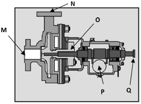
A figura a seguir ilustra uma bomba centrífuga utilizada em uma embarcação.

(Fonte: Marinha do Brasil, Diretoria de Portos e Costas, “Máquinas e Equipamentos Auxiliares”)
O bocal de descarga dessa bomba está indicado pela letra