
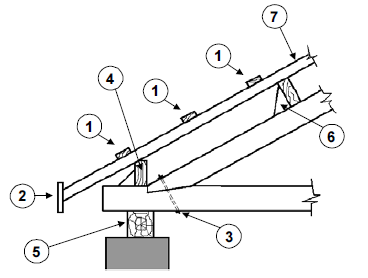
Para orientar a comunicação com o pessoal da obra, é preciso dominar a terminologia das peças que compõem uma obra. Com relação ao telhado esquematizado na figura acima, é correto afirmar que

Para orientar a comunicação com o pessoal da obra, é preciso dominar a terminologia das peças que compõem uma obra. Com relação ao telhado esquematizado na figura acima, é correto afirmar que