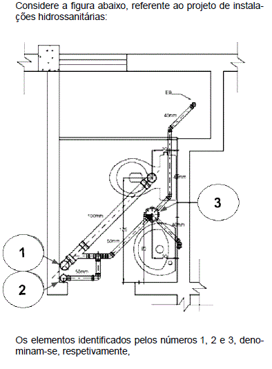
tubo de queda, tubo de ventilação e caixa sifonada.
ponto de esgoto, tubo de esgoto primário e caixa de inspeção.
ramal de descarga, ramal de ventilação e ponto de inspeção.
ramal secundário, ramal primário e duto de coleta.
duto de respiro, tubo de queda e ralo seco.
Olá, para continuar, precisamos criar uma conta! É rápido e grátis.