
A figura acima representa a vista isométrica, no primeiro diedro, de um suporte com mancais deslizantes M1 e M2 e uma guia G1.
A vista frontal da peça acima, no primeiro diedro, é

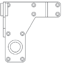
A figura acima representa a vista isométrica, no primeiro diedro, de um suporte com mancais deslizantes M1 e M2 e uma guia G1.
A vista frontal da peça acima, no primeiro diedro, é