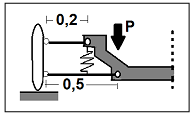
A figura abaixo mostra um sistema de suspensão de um veículo, o qual possui um peso P = 14 kN que se distribui uniformemente nas quatro rodas. Sendo a constante de rigidez da mola K = 43 kN/m e considerando que as barras têm o comportamento de um corpo rígido sem qualquer interferência inercial, a frequência natural (rd/s) para o sistema da figura, cujas dimensões estão em metro (g=9,81 m/s2), é
