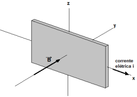
Uma placa metálica fixa é percorrida por corrente elétrica i ao mesmo tempo em que é atravessada por um campo magnético uniforme de módulo B, conforme mostrado na figura abaixo. Em situações como essa, observa-se um efeito conhecido como efeito Hall (descoberto por Edwin Hall em 1879).

O que se observa na placa, como consequência do efeito Hall?