Magna Concursos
613402 Ano: 2014
Disciplina: Desenho Técnico e Industrial
Banca: UERJ-SGP
Orgão: UERJ
Provas:

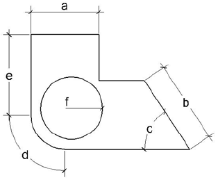
Relacione as letras do desenho abaixo à denominação dos tipos de cota para a ferramenta Dimension, assinalando a que não está correta.

Enunciado 613402-1

 

Provas

Questão presente nas seguintes provas

Arquiteto e Urbanista

60 Questões