Observe a figura a seguir.

Em relação à ilstração acima, os elementos da esquadria indicados pelos números I, II e III representam, respectivamente:
Provas
Questão presente nas seguintes provas
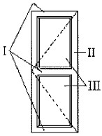
Observe a figura a seguir.

Em relação à ilstração acima, os elementos da esquadria indicados pelos números I, II e III representam, respectivamente: