

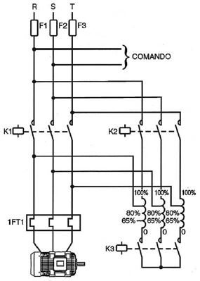
As figuras acima representam os diagramas de comando e de força de uma chave compensadora.
As bobinas não identificadas no diagrama de comando, na ordem da esquerda para a direita, correspondem às contatoras


As figuras acima representam os diagramas de comando e de força de uma chave compensadora.
As bobinas não identificadas no diagrama de comando, na ordem da esquerda para a direita, correspondem às contatoras