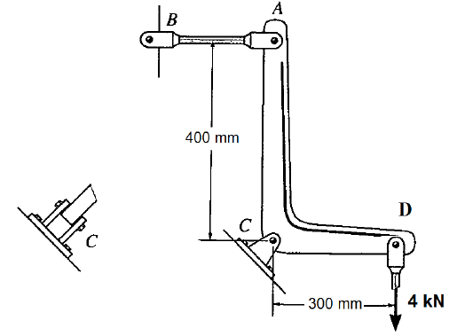
Observe a figura que mostra a montagem do braço ACD, suspenso por um mancal em C
e acoplado a uma haste horizontal em A. O braço suporta uma carga de 4 kN aplicada na
extremidade D.

Considerando a tensão de cisalhamento admissível do material do pino no mancal C 0,5 MPa, a área da seção transversal do pino C, que sustenta a carga de 4 kN, é:

Considerando a tensão de cisalhamento admissível do material do pino no mancal C 0,5 MPa, a área da seção transversal do pino C, que sustenta a carga de 4 kN, é:
Provas
Questão presente nas seguintes provas