Magna Concursos
2470559 Ano: 2013
Disciplina: Engenharia Mecânica
Banca: Marinha
Orgão: Marinha

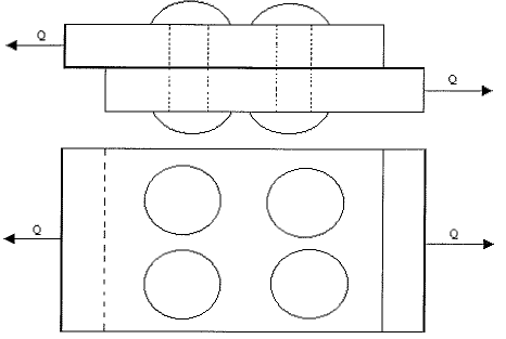
Analise a figura a seguir.

Enunciado 3396990-1

Desprezando o efeito de esmagamento, isto é, considerando, somente, o efeito de cisalhamento, determine o diâmetro dos rebites para que a junta rebitada da figura acima, que possui 04 (quatro) rebites, suporte uma carga Q= 10,5 . !$ \pi !$ KN aplicada sobre ela, e assinale a opção correta.

Dado: !$ \pi = 3,15 !$

!$ \mathfrak{I} = 105MPPa !$

 

Provas

Questão presente nas seguintes provas

Corpo Auxiliar de Praças - Mecânica

50 Questões