Observe a figura.

Com base na simbologia funcional pneumática de três válvulas ilustradas na figura, assinale a alternativa que descreve corretamente cada uma das válvulas, na mesma ordem apresentada na figura.
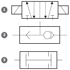
Observe a figura.

Com base na simbologia funcional pneumática de três válvulas ilustradas na figura, assinale a alternativa que descreve corretamente cada uma das válvulas, na mesma ordem apresentada na figura.