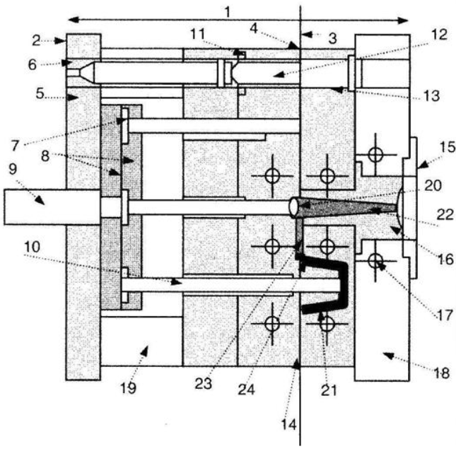
A figura a seguir compreende um molde de injeção com suas partes principais numeradas.

Identifique os números que identificam as seguintes partes, respectivamente: linha de partição, placa móvel, placa fixa, pinos extratores e canais de refrigeração:
Provas
Questão presente nas seguintes provas
Técnico de Laboratório - Técnico em Plásticos
60 Questões