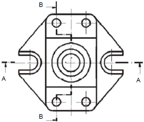
Observe a vista superior abaixo.
Nela estão indicados os cortes AA e BB.

A vista ortográfica abaixo representa o corte _____, que é um corte _____

A vista ortográfica abaixo representa o corte _____, que é um corte _____

Assinale a alternativa que preenche corretamente as lacunas das frases acima, na ordem em que aparecem.