Magna Concursos
Questões
Planos
Entrar
Entrar
Criar Conta
Respondida
711348
Ano:
2014
Disciplina:
Engenharia Mecânica
Banca:
CESPE / CEBRASPE
Orgão:
TJ-CE
Provas:
Analista Judiciário - Engenharia Mecânica
Provas
×
Mecânica dos Sólidos
Modelagem Estática e Dinâmica
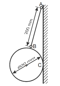
Um fio de 200 mm de comprimento sustenta um anel fino de 1.000 N de peso e 600 mm de diâmetro contra uma parede, conforme mostrado na figura acima. Para essa condição, a força de tração no fio e a reação da parede em C são iguais, respectivamente, a
A
1.250 N e 750 N.
B
1.350 N e 800 N.
C
1.500 N e 1.000 N.
D
1.000 N e 500 N.
E
1.200 N e 700 N
Resolver
Comentários
0
×
Cadernos
×
Flashcards
×
Estatísticas
×
Reportar um erro
×
Provas
Questão presente nas seguintes provas
Analista Judiciário - Engenharia Mecânica
80 Questões
Resolver Prova
Publicar
Responder
Qual o problema da questão?
Selecione uma opção
Questão Desatualizada
Questão Repetida
Gabarito Errado
Outros Motivos
Mensagem
Enviar
Acessar
Criar Conta
Acesse sua Conta
Google
Facebook
Esqueci minha senha
Acessar
Ainda não tem conta?
Crie uma
!
Crie uma Conta
Criar Conta
Olá, para continuar, precisamos criar uma conta!
É
rápido
e
grátis
.
Google
Facebook
Concordo com os
Termos de Uso
Criar
Já tem uma conta?
Acesse aqui