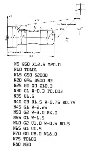
Abaixo tem-se um programa de torneamento em código G e a respectiva imagem da peça a ser usinada.

A linha de programação N55 refere-se a:
Provas
Questão presente nas seguintes provas
Assistente Técnico - Técnico em Mecatrônica
50 Questões