Magna Concursos
639066 Ano: 2008
Disciplina: Serviços Gerais
Banca: FCC
Orgão: METRO-SP

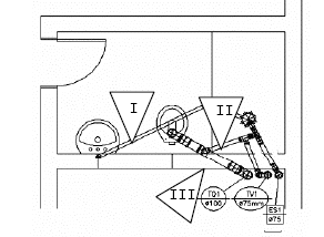
Considere o projeto abaixo.

enunciado 639066-1

Os diâmetros, em mm, indicados por I, II e III, devem ser, respectivamente, de

 

Provas

Questão presente nas seguintes provas

Oficial de Manutenção Civil

50 Questões