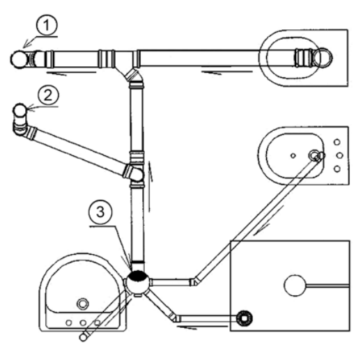
A figura a seguir representa as instalações de esgoto sanitário de um banheiro.

Os itens da instalação numerados de 1, 2 e 3, são, respectivamente,
A figura a seguir representa as instalações de esgoto sanitário de um banheiro.

Os itens da instalação numerados de 1, 2 e 3, são, respectivamente,