Magna Concursos
1473196 Ano: 2009
Disciplina: Física
Banca: IESES
Orgão: CREA-SC

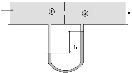
Um manômetro de tubo em U está conectado em uma placa de orifício, onde escoa ar, conforme ilustrado na figura abaixo. Se o fluido do manômetro for o mercúrio e se P1= 2 atm, determine a pressão P2 (em N/m2). Nesta questão, considere g=10 m/s2, ρHg=13,6 103 kg/m3, ρAr=1 kg/m3, h=1 m. Dados: 1 atm = 1,013 105 N/m2.

Enunciado 1473196-1

Resposta:

 

Provas

Questão presente nas seguintes provas

Assessor Técnico - Química

40 Questões