Julgue os próximos itens, relativos a fundamentos da dinâmica.
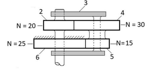
Considere que a figura a seguir ilustre a configuração de um trem de engrenagens planetárias, no qual: a engrenagem 2 seja chavetada ao seu eixo e gire a 240 rpm no sentido horário; as engrenagens 4 e 5 sejam engrenagens planetas conectadas coaxialmente, mas livres para girar em torno do eixo que liga o braço 3; e a engrenagem 6 seja estacionária. Nessa situação, o braço 3 girará no sentido horário a uma velocidade inferior a 100 rpm.
