
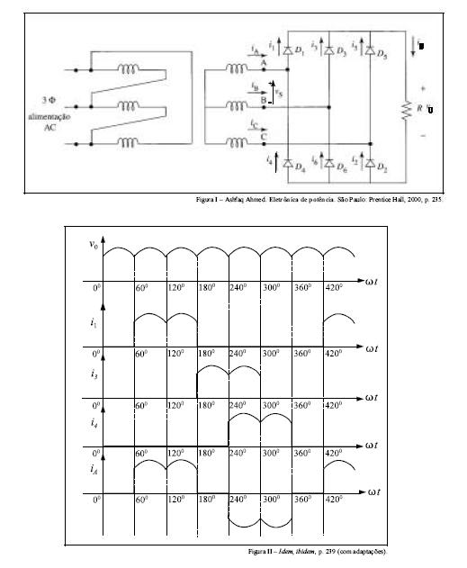
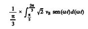
A figura I acima mostra o diagrama de um retificador trifásico não-controlado de onda completa em ponte que está funcionando perfeitamente. Esse retificador é alimentado por um transformador trifásico, com relação de transformação igual a 1:1, a partir de uma fonte trifásica senoidal equilibrada com tensão nominal de linha igual a vS. A figura II mostra os gráficos das formas de onda de algumas grandezas elétricas importantes do referido retificador. Considerando essas informações, julgue os seguintes itens.
O valor médio da tensão de saída v0 pode ser calculado pela expressão a seguir.

Provas
Questão presente nas seguintes provas
Auditor de Controle Externo - Engenharia Elétrica
120 Questões