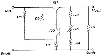
Analise o diagrama esquemático elétrico abaixo.

Considerando que o circuito apresentado no diagrama foi projetado para funcionar como regulador de tensão discreto, assinale a opção correta.
Analise o diagrama esquemático elétrico abaixo.

Considerando que o circuito apresentado no diagrama foi projetado para funcionar como regulador de tensão discreto, assinale a opção correta.