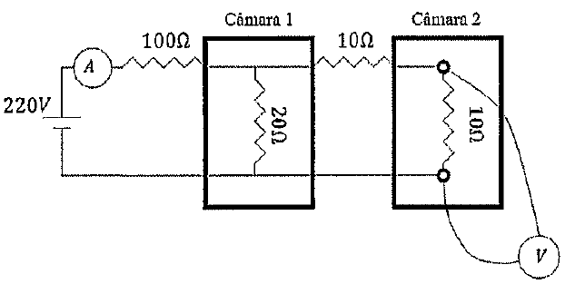
Examine a figura abaixo:

A temperatura de duas câmaras é aumentada através de uma sequência de resistores em série e paralelo, conforme o esquema elétrico na figura acima. Um militar foi designado para medir a tensão da câmara 2 e a corrente total do circuito e enviar o resultado o mais rápido possível ao seu superior. Considerando a tensão de entrada de 220V, assinale a opção correta que apresenta os valores que foram lidos no amperímetro e no voltímetro.