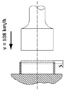
Um prisma de secção transversal quadrada de aço será forjado a quente e sofrerá um encurtamento longitudinal de 5 mm. O prisma não sofrerá variação transversal por estar contido lateralmente em um invólucro (cinta) de contenção. A ferramenta de impacto de forjamento, ao entrar em contato com o prisma, é desacelerada uniformemente até parar, quando atingir os 5 mm da profundidade de forjamento, e a sua velocidade no instante inicial do contato é v = 108 km/h. Pede-se determinar, respectivamente:
1. A força média “F” em Kgf desenvolvida na operação;
2. O tempo de interação do impacto “t” em segundos;
3. O custo da operação se o preço do Kw é R$0,25.

Dados:
• Lado do quadrado do prisma L = 100 mm
• Altura total inicial do prisma H = 15 mm
• Densidade do aço ρaço = 7850 Kg/m3
Desconsiderar o peso da ferramenta de forjar.
Obs.: Os cálculos e resultados devem ter dois decimais.
Assinale a alternativa correta.