Magna Concursos
3090649 Ano: 2012
Disciplina: Engenharia Eletrônica
Banca: CETRO
Orgão: TBG

Enunciado 3365281-1

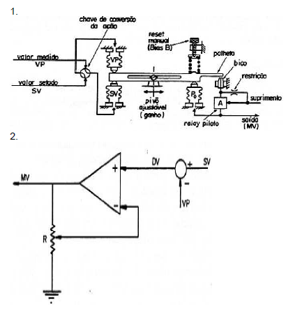
As figuras se tratam de, respectivamente,

 

Provas

Questão presente nas seguintes provas