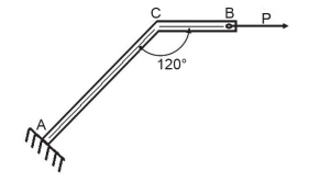
O componente estrutural ilustrado na Figura é constituído
por dois trechos de peças prismáticas cujos comprimentos são LAC e LBC. Esse componente está engastado na
extremidade A e sujeito a uma carga concentrada P, aplicada na extremidade B.
Considerando-se que a carga P está alinhada com o segmento BC desse componente, o momento fletor atuante no engaste A é
Considerando-se que a carga P está alinhada com o segmento BC desse componente, o momento fletor atuante no engaste A é
Provas
Questão presente nas seguintes provas
Técnico - Inspeção de Equipamentos e Instalações
60 Questões