1309243
Ano: 2010
Disciplina: Desenho Técnico e Industrial
Banca: VUNESP
Orgão: Pref. Diadema-SP
Disciplina: Desenho Técnico e Industrial
Banca: VUNESP
Orgão: Pref. Diadema-SP
Provas:
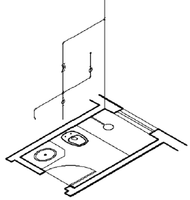
Assinale a alternativa que indica o nome da representação gráfica.
