
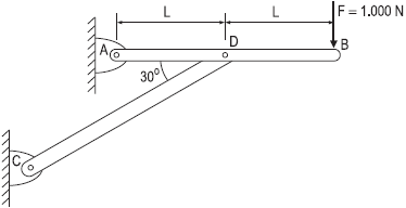
Uma estrutura é constituída de duas barras e suporta uma carga F de 1.000 N conforme indicado. A área da seção reta da barra CD é igual a 2 x 10−4 m2.
Nessas condições, a tensão normal atuante nessa barra, em MPa, vale
Provas
Questão presente nas seguintes provas
Técnico de Manutenação - Mecânica
50 Questões
Técnico de Manutenção - Elétrica
50 Questões