
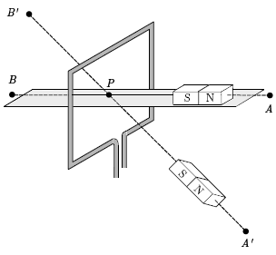
Considere um arranjo experimental, representado na figura, em que um ímã pode se movimentar ao longo das retas !$ \overline{AB} !$ ou !$ \overline{A^{ \prime} B^{ \prime}} !$, sempre com velocidade constante (v << c).Uma espira retangular de auto-indutância desprezível e posicionada perpendicularmente a !$ \overline{AB} !$. Pelo centro da espira, o ponto P, passam as retas !$ \overline{AB} !$ e !$ \overline{A^{ \prime} B^{ \prime}} !$. A corrente elétrica na espira, observada desde a perspectiva de um observador no ponto A, e positiva, por convenção, se estiver no sentido horário. O polo norte do m~a sempre aponta ou para A ou para !$ A^{ \prime} !$.
A respeito da situação física descrita, são feitas as seguintes afirmações:
I. Quando o ímã se desloca de A para P, a corrente na espira é negativa.
II. No momento em que o centro do ímã passa pelo ponto P, a corrente na espira e zero
III. Durante a passagem do ímã de A para B, havera dois picos de corrente medidos.
IV. Quando o ímã passa por !$ \overline{A^{ \prime} B^{ \prime}} !$, a corrente maxima na espira e maior do que a corrente máxima quando o ímã passa por !$ \overline{AB} !$.
Das afirmações I a IV, acima destacadas, estão corretas