A figura a seguir mostra uma viga biapoiada de seção constante com 4 m de comprimento. Sobre essa viga é colocada uma carga distribuída com valor igual a 5 kN/m.

(Arquivo pessoal; imagem usada com autorização.)
Dados:
• Tensão na flexão: \( \sigma = { \large M.y \over I} \)
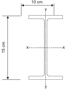
• Seção transversal da viga:

• Momento de Inércia: 500 cm4
(Arquivo pessoal; imagem usada com autorização.)
Para essas condições de carregamento, determine qual a máxima tensão de flexão atuante sobre a viga.