Observe o desenho a seguir.

Dado o desenho do corte de uma peça de motor acima, assinale a opção que apresenta, respectivamente, o nome da peça e o nome dos locais identificados pelos números 1, 2 e 3?
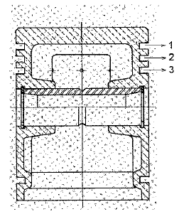
Observe o desenho a seguir.

Dado o desenho do corte de uma peça de motor acima, assinale a opção que apresenta, respectivamente, o nome da peça e o nome dos locais identificados pelos números 1, 2 e 3?