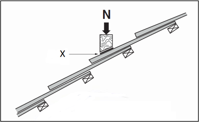
Para a manutenção de coberturas, a carga N, conforme a imagem, deve ser transmitida na posição mais desfavorável, por meio do cutelo de madeira, diretamente sobre a telha ou sobre dispositivos distribuidores de carga do tipo tábuas, pranchas e outras, especificados pelo fabricante ou construtor. O cutelo deve ser conformado para transmitir a carga na direção vertical, intercalando-se com material resiliente.

(Carga concentrada transmitida com o auxílio de cutelo de madeira. EM: NBR 15.575-5/2021.)
A letra X na imagem se trata de:
Provas
Questão presente nas seguintes provas