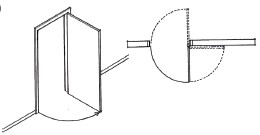
Associe a segunda coluna com a primeira, quanto aos tipos de portas por modo de operação, segundo Ching (2001).
I) 
II)
III)
IV)
V)
( ) Correr.
( ) Articulada.
( ) Correr sobreposta.
( ) Correr embutida.
( ) Pivotante.
Assinale a alternativa que contém a sequência CORRETA de associação, de cima para baixo.
Provas
Questão presente nas seguintes provas
Técnico de Laboratório - Móveis e Esquadrias
60 Questões