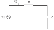
No circuito RC série, abaixo, a tensão fornecida pela fonte é dada por: v(t) = 311 sen 50t (V) e a corrente é i(t) = 14,1 sen (50t + π/3) (A)

Nas condições apresentadas, o valor do capacitor é, aproximadamente, em milifarad,
No circuito RC série, abaixo, a tensão fornecida pela fonte é dada por: v(t) = 311 sen 50t (V) e a corrente é i(t) = 14,1 sen (50t + π/3) (A)

Nas condições apresentadas, o valor do capacitor é, aproximadamente, em milifarad,