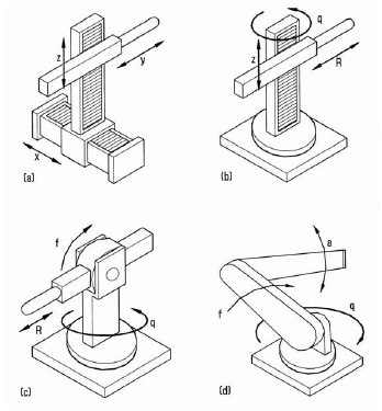
Os robôs industriais, possuem uma variedade de tamanhos, formas e configurações físicas. A maioria das configurações utilizadas atualmente são mostradas nas figuras abaixo. Identifique as configurações de cada figura, respectivamente:

Os robôs industriais, possuem uma variedade de tamanhos, formas e configurações físicas. A maioria das configurações utilizadas atualmente são mostradas nas figuras abaixo. Identifique as configurações de cada figura, respectivamente:
