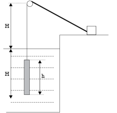
Na operação de resgate de uma peça metálica, maciça e cilíndrica de geratriz h, do fundo do mar, um guincho iça a peça retirando-a lentamente e com velocidade constante, até que ela fique toda fora da água. A distância vertical entre a roldana do guindaste e a superfície livre da água é H > h, e a viscosidade da água é desprezível, assim como a resistência do ar. O instante em que a face superior do cilindro é retirada da água é t 1 e o instante em que a face inferior é retirada é t 2.

O gráfico que melhor relaciona a intensidade da força de tração (F) no cabo do guindaste com o tempo (t) de duração da operação é

O gráfico que melhor relaciona a intensidade da força de tração (F) no cabo do guindaste com o tempo (t) de duração da operação é