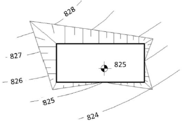
Para edificar um bloco de salas de aulas, será necessária a execução de serviços de terraplenagem para constituir um patamar retangular, com dimensões de 15 metros de largura e 45 metros de comprimento, na cota 825. Considerando as condições de implantação dispostas na figura seguinte, assinale qual a alternativa correta para representar a planta indicativa dos cortes e aterros que serão realizados.
