Magna Concursos
556789 Ano: 2015
Disciplina: Engenharia Eletrônica
Banca: CESPE / CEBRASPE
Orgão: FUB
Enunciado 556789-1
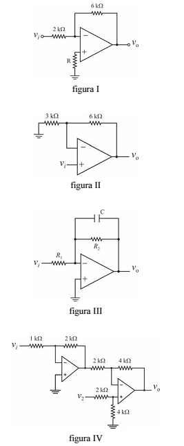
Nos circuitos mostrados nas figuras I, II, III e IV, considere que todos os componentes sejam ideais e que os amplificadores operacionais atuem sempre na faixa de operação linear. A respeito desses circuitos, julgue o item subsecutivo.

A saída vo do circuito da figura IV é dada por vo = v1 + 3v 2
Questão Anulada

Provas

Questão presente nas seguintes provas

Técnico - Eletroeletrônica

120 Questões